
國家高新技術企業
廣東專精特新企業
英文站
網站地圖
玻璃鋼(也稱玻璃纖維增強塑料,國際公認的縮寫符號為GFRP或FRP),是一種品種繁多,性能各別,用途廣泛的復合材料。它是由合成樹脂和玻璃纖維經復合工藝,制作而成的一種功能型的新型材料。
纖維纏繞增強塑料的力學性能需要按照GB/T1458-2008要求進行試樣制作,需要進行剪切試驗、拉伸試驗。采用的儀器為萬能試驗機。
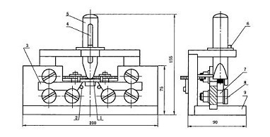
試樣制作方法較為復雜,通過纏繞法或圓筒切環法制作出環形試樣。
剪切試驗時,使用萬能試驗機做三點彎曲試驗,記錄破壞負荷,計算出剪切強度。

拉伸試驗時,以規定的加載速度進行拉伸,直至試樣破壞,記錄破壞負荷,計算強度和模量。其中,夾具有特殊要求。
